Description
- 5t capacity wheel alignment lift, 5.3m long platforms
- Low voltage (24V) dead man’s controls
- Electrically operated locking mechanism
- Automatic safety device in case of cable slack or sudden loss of hydraulic pressure
- Adjustable platform to suit different vehicles
- Recessed or surface-mounted installation
- Drive on reverse off or drive through configuration
- Also available in single phase
- Front recesses suitable for radius plates
- Pneumatic locking rear slip plates for camber adjustment
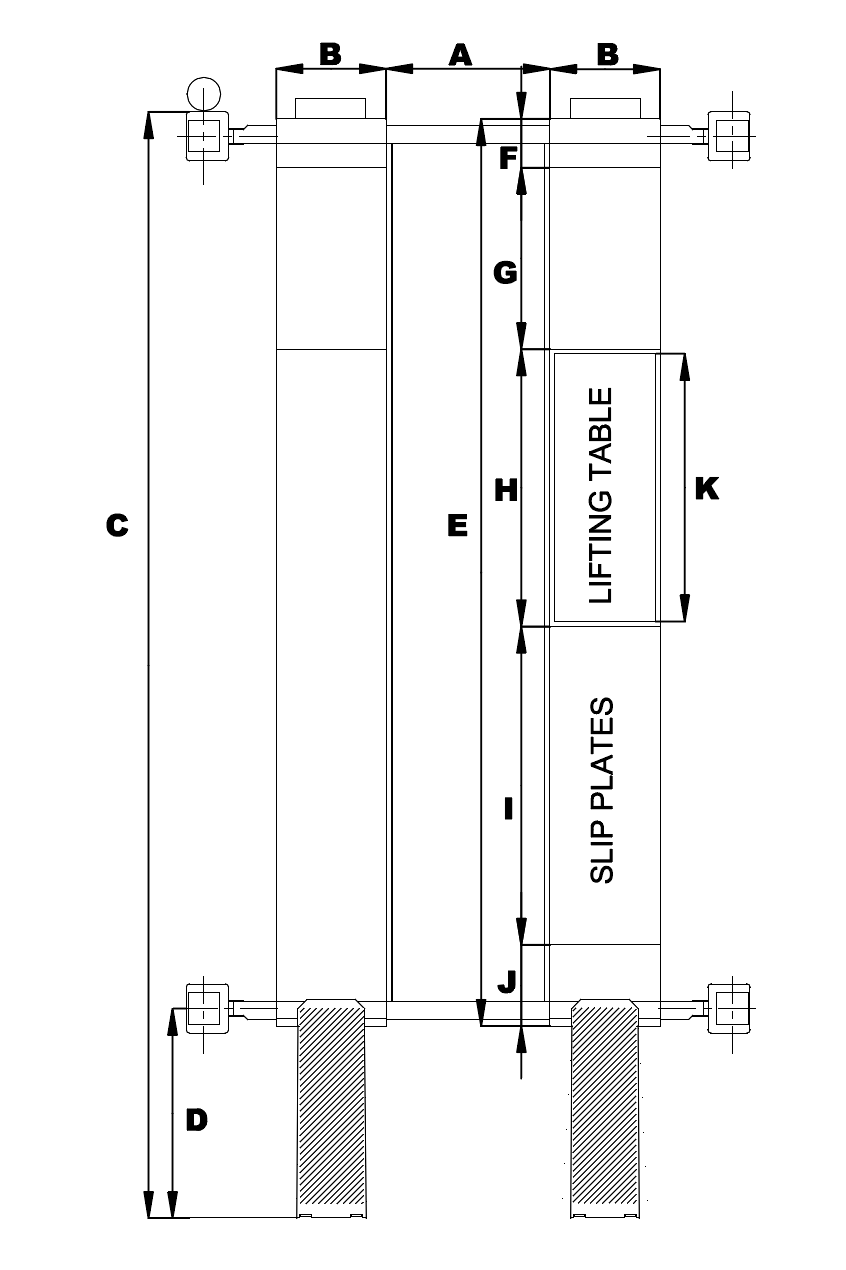
Dimensions (mm)
| A |
862/1162 |
| B |
520 |
| C |
6044 |
| D |
904 |
| E |
5332 |
| F |
216 |
| G |
915 |
| H |
1498 |
| I |
2330 |
| K |
–/– |
| L |
175/1970 |
| M |
3210 |
| N |
2970 |
| O |
2450 |